360教程/网络游戏/列表
《命运2》限量版地图暗藏玄机 要不要来破解试试?

《命运2》限量版地图暗藏玄机 要不要来破解试试?

2025-09-11
《命运2》Xbox版被曝明显掉帧问题 大量玩家中招

《命运2》Xbox版被曝明显掉帧问题 大量玩家中招

2025-09-11
《命运2》继续称霸英国游戏榜 《赛车计划2》第二

《命运2》继续称霸英国游戏榜 《赛车计划2》第二

2025-09-11
因出现严重Bug 《命运2》巅峰难度利维坦上线推迟

因出现严重Bug 《命运2》巅峰难度利维坦上线推迟

2025-09-11
《命运2》最终PC配置公布 推荐GTX970或1060

《命运2》最终PC配置公布 推荐GTX970或1060

2025-09-11
《命运2》实体版本销量低迷?战网PC版将力挽狂澜

《命运2》实体版本销量低迷?战网PC版将力挽狂澜

2025-09-11
《命运2》实体版首发销量唱衰 相较前代少了50%

《命运2》实体版首发销量唱衰 相较前代少了50%

2025-09-11
《命运2》高抬腿动作出BUG 姿势难看但是可以穿墙

《命运2》高抬腿动作出BUG 姿势难看但是可以穿墙

2025-09-11
《命运2》PC版本发售预告曝光 热血沸腾迎接挑战

《命运2》PC版本发售预告曝光 热血沸腾迎接挑战

2025-09-11
《命运2》曝视频图形选项:官方建议如何提升帧率!

《命运2》曝视频图形选项:官方建议如何提升帧率!

2025-09-11
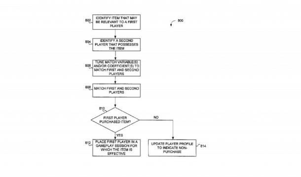
充钱才能更愉快?动视诱导玩家“氪金”的匹配系统曝光

充钱才能更愉快?动视诱导玩家“氪金”的匹配系统曝光

2025-09-11
《命运2》PC版首次raid时间公布 考验玩家时候到了

《命运2》PC版首次raid时间公布 考验玩家时候到了

2025-09-11
真人现实版《命运2》飞行载具宣传片 有一点点爽

真人现实版《命运2》飞行载具宣传片 有一点点爽

2025-09-11
23/1338